電動粉體蝶閥 | BLF
電動粉體蝶閥 產品說明
電動粉體蝶閥 也稱為電動水泥蝶閥是專門用于粉體,顆粒物料的工業產品。閥體橡膠密封圈形成的軟性密封使其非常適合各利粉體,顆粒物料的應用場合,特別是對于磨損性強的物料。在需要重力落料或氣力輸送的粉體,顆粒物料處理系統中,電動粉體蝶閥常常被安裝在料斗,筒倉,螺旋輸送機出口以及氣送管路上。
電動粉體蝶閥 性能參數
| 型號 | BLD-F | |
|---|---|---|
| 公稱通徑(mm) | DN100-DN400 | |
| 壓力(Mpa) | 0-0.2 | |
| 主要零件 | 閥體 | 壓鑄鋁合金 |
| 閥板 | 碳鋼內襯板,覆以耐磨高分子材料 | |
| 密封圈 | 丁晴橡膠(NBR) | |
| 適用介質 | 水泥、泥漿、粉體 | |
| 適用溫度(℃) | -15~100 | |
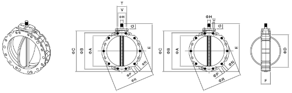
電動粉體蝶閥單法蘭結構尺寸圖
電動粉體蝶閥單法蘭連接尺寸
| 型號 | φA | φB | φC | φD | E | F | G | φH | φH孔徑×數量 | φP外凹槽直徑×數量 | φR | S | T | U | V | Z | KG |
|---|---|---|---|---|---|---|---|---|---|---|---|---|---|---|---|---|---|
| BL1F100 | 95 | 180 | 220 | 105 | 250 | 115 | 35 | 22×19 | 14×4 | 20×4 | 220 | 40 | 80 | M12 | 50 | M10 | 4 |
| BL1F150 | 150 | 200 | 228 | 163 | 290 | 115 | 35 | 22×19 | 14×4 | 20×4 | 228 | 40 | 80 | M12 | 50 | M10 | 5 |
| BL1F200 | 200 | 250 | 278 | 213 | 340 | 115 | 35 | 22×19 | 14×4 | 20×4 | 278 | 40 | 80 | M12 | 50 | M10 | 6.5 |
| BL1F250 | 250 | 300 | 328 | 263 | 390 | 115 | 35 | 22×19 | 14×8 | 20×8 | 328 | 40 | 80 | M12 | 50 | M10 | 7.5 |
| BL1F300 | 300 | 350 | 378 | 313 | 440 | 115 | 35 | 22×19 | 14×8 | 20×16 | 378 | 40 | 80 | M12 | 50 | M10 | 9 |
| BL1F350 | 350 | 400 | 440 | 363 | 530 | 123 | 50 | 28×25 | 14×8 | 20×8 | 440 | 40 | 80 | M12 | 50 | M10 | 16 |
| BL1F400 | 400 | 470 | 530 | 413 | 580 | 123 | 50 | 28×25 | 14×8 | 20×16 | 530 | 40 | 80 | M12 | 50 | M10 | 20.5 |
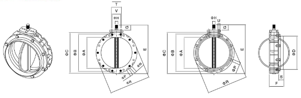
電動粉體蝶閥雙法蘭結構尺寸圖
電動粉體蝶閥雙法蘭連接尺寸
| 型號 | φA | φB | φC | φD | E | F | G | φH | φH孔徑×數量 | φP外凹槽直徑×數量 | φR | S | T | U | V | Z | KG |
|---|---|---|---|---|---|---|---|---|---|---|---|---|---|---|---|---|---|
| BL2F100 | 95 | 180 | 220 | - | 250 | 77 | 35 | 22×19 | 14×4 | 20×4 | 220 | - | 80 | M12 | 50 | M10 | 4 |
| BL1F150 | 150 | 200 | 228 | - | 290 | 77 | 35 | 22×19 | 14×4 | 20×4 | 228 | - | 80 | M12 | 50 | M10 | 5 |
| BL2F200 | 200 | 250 | 278 | - | 340 | 77 | 35 | 22×19 | 14×4 | 20×4 | 278 | - | 80 | M12 | 50 | M10 | 6.5 |
| BL2F250 | 250 | 300 | 328 | - | 390 | 115 | 35 | 22×19 | 14×8 | 20×8 | 328 | - | 80 | M12 | 50 | M10 | 7.5 |
| BL1F300 | 300 | 350 | 378 | - | 440 | 115 | 77 | 22×19 | 14×8 | 20×16 | 378 | - | 80 | M12 | 50 | M10 | 9 |
| BL2F350 | 350 | 400 | 440 | - | 530 | 85 | 50 | 28×25 | 14×8 | 20×8 | 440 | - | 80 | M12 | - | - | 16 |
| BL2F400 | 400 | 470 | 530 | - | 580 | 85 | 50 | 28×25 | 14×8 | 20×16 | 530 | - | 80 | M12 | - | - | 20.5 |
更多>> 產品列表
- · 電動軟密封蝶閥 | CHD971X
- · 電動對夾蝶閥 | CHD973H
- · 電動開關蝶閥 | CHD941X
- · 電動硬密封蝶閥 | CHD943H
- · 電動四氟蝶閥 | CHD971F
- · 電動襯氟蝶閥 | CHD971F46
- · 電動塑料蝶閥 | CHD971X
- · 電動真空蝶閥 | GID
- · 電動衛生級蝶閥 | CHWD981X
- · 電動通風蝶閥 | CHTD941W
- · 電動粉體蝶閥 | BLF
- · 防爆電動蝶閥 | CHExD943H
- · 防爆電動塑料蝶閥 | CHExD971X
- · 防爆電動軟密封蝶閥 | CHExD971X
- · 防爆電動四氟蝶閥 | CHExD971F
- · 電動煙氣蝶閥 | CHD941W
更多>> 閥門圖片列表
更多>> 其他閥門
